Piston.my

Archive

Touch ‘n Go Sdn Bhd (Touch ‘n Go) has set an ambitious target of attracting four million users to their Radio Frequency Identification (RFID) system by the close of 2024.

According to Bernama, CEO Praba Sangarajoo emphasised the remarkable growth in RFID adoption, attributing it to the seamless convenience it offers. Presently boasting about three million RFID users, the company is eyeing an additional one million by the end of the next year, aligning with its commitment to providing a smoother toll payment experience.

Sangarajoo underscored the multifaceted advantages of RFID technology, not only streamlining toll payments but also enabling contactless fuel transactions. In a recent development, Penang Chief Minister Chow Kon Yeow inaugurated Touch ‘n Go’s “Walao Eh Just In Penang” campaign, aimed at promoting cashless transactions and a seamless payment experience covering tolls, transit, and parking within Penang.

The campaign’s objective is to introduce the convenience of seamless mobility solutions to Penangites through Touch ‘n Go’s RFID and an enhanced Touch ‘n Go card.

In line with Penang’s vision of establishing a robust digital infrastructure by 2030, the campaign will see specially equipped mobile vans stationed strategically, offering special campaign deals on RFID tags to Penangites. They can also purchase exclusive Touch ‘n Go bundle sets, comprising an RFID tag and an enhanced Touch ‘n Go card.

Chief Minister Chow stressed the significance of adopting e-payment services such as Touch ‘n Go RFID, lauding its convenience, efficiency, and security. He expressed confidence in achieving Penang’s ambitious goal of being 100% cashless by 2030, with Touch ‘n Go’s collaboration.

The resurgence of the iconic Supra has sparked interest in reviving other famous Toyota nameplates from the past, and one that enthusiasts are keeping a close eye on is the Celica.

The Toyota Celica, a name etched in automotive history, had its last production run in 2006. However, the recent buzz suggests that the Celica might be making a comeback, and this time, it comes from none other than Toyota’s Chairman, Akio Toyoda. During a live-streamed interview, he was probed about the possibility of a new Celica.

Initially treading carefully due to his shift from the product side to the executive side of the company, Toyoda dropped hints that stirred up excitement among Celica fans. He admitted to having made a request for the return of the Celica, although he wasn’t sure under what name it might be reintroduced. This was seen as a promising sign by many.

(more…)

In 1959, Mini introduced a revolutionary concept of compact dimensions delivering ample interior space, igniting a legacy of individual mobility. Over the years, the brand has steadfastly pursued the fusion of driving pleasure with a minimal footprint. Now, the all-new Mini Cooper SE ushers in a new era, embracing innovative technology while staying true to the quintessential Mini DNA. This fifth-generation three-door model brings forth a plethora of digital experiences within the interior, alongside modern assistance systems, defining the future of mobility.

Electric Driving Dynamism with an Enhanced Go-Kart Feel

Packing 218hp and a peak torque of 330Nm, the Mini SE accelerates from 0 to 100km/h in a brisk 6.7 seconds. Fuelled by a high-voltage battery boasting 54.2 kWh energy content and positioned in the vehicle floor, it achieves an impressive range of 402km in the WLTP test cycle. The driving dynamics are further enriched by a slightly increased track width and a wider wheelbase, ensuring an exhilarating go-kart-like feel.

Efficiency Meets Convenience with Fast Charging

A notable feature is the swift direct current fast charging, delivering up to 95kW. Merely 30 minutes of charging can propel the battery from 10 per cent to 80 per cent. Optimising the charging process is a breeze, offering ease of control through intuitive settings accessible via the Mini App.

Expressive Illumination with Mini LED Headlights

The face of the Mini Cooper SE is defined by iconic round headlights and an octagonal front grille. The LED headlights, with optional light signatures, imbue the vehicle with an expressive character. The light signatures, featuring captivating welcome and goodbye animations, amplify the individuality of the SE.

Effortless Elegance in Compact Proportions

Typical Mini proportions, marked by short overhangs, a short bonnet, and a contrasting long wheelbase, characterise the compact silhouette of the Mini Cooper SE. The design seamlessly marries classic Mini elements with a contemporary aesthetic, setting the vehicle apart in any urban landscape. Enhanced aerodynamics, achieving a cW value of 0.28, contribute to efficiency without compromising style.

Immersive User Experience in a Minimalist Interior

Inside, the minimalist interior of the Mini Cooper SE captivates with digital, immersive, and inviting elements. A reduction in components cleverly designed and implemented elevates the classic Mini design to the present. A curved dashboard made of textile surfaces, a round OLED display, and the characteristic toggle switch bar define the purist interior. The central OLED display, a nexus of experience and convenience, offers enhanced proximity for easy operation.

Customisation Unleashed with Mini Experience Modes

The Mini Experience Modes introduce a new level of expressiveness, granting the interior a unique charm. Each mode features bespoke backgrounds, exuding a lively and high-quality ambiance with minimal distraction. The Mini Projector enhances the immersive experience by projecting atmospheric colour patterns matching the selected Experience Mode onto the dashboard and door panels.

Modern Driving Meets Advanced Assistance

Equipped with state-of-the-art driver assistance systems, the Mini Cooper SE ensures a seamless driving experience. The Mini Parking Assistant Plus, equipped with 12 ultrasonic sensors and four surround cameras, simplifies parking and offers unique solutions in this vehicle segment. The Explore Mode enables external control and parking via smartphone, a convenient feature in tight parking spots. With Remote 360, safety is enhanced by allowing a view of the surroundings around the parked vehicle via the Mini App.

Innovative Key Features for Enhanced Convenience

The innovative Mini Digital Key Plus transforms smartphones into digital keys, streamlining car-sharing experiences. It allows for storing personalised vehicle settings, ensuring a tailor-made driving encounter for each individual. The advanced technology and personalised settings reflect Mini’s commitment to maximising user convenience.

Global warming supposedly is said to have peaked in 1988. That is when it became a political agenda and a point of discussion for many, giving rise to environmentalist in the process. However, climate change, as global warming will become known as later, did not truly take the global stage until 2006 – thanks to one Al Gore.

The former Vice President of the United States became one of the most vocal environmental activists and his film ‘The Inconvenient Truth’ can be credited as opening the eyes of the world to the devastation of climate change.

However, it is not all Al Gore of course. The European and American governmental agencies such as the Environmental Protection Agency as well as the European Environment Agency too played a pivotal role in introducing regulations that directly affected car makers.

The work of the agencies and environmentalists forced automotive conglomerates to take action, and this inadvertently gave rise to the era of the Electric Vehicles (EV).

One could argue that EVs have been around for nearly a century, but it is undeniably that they have never been as popular as they are now. And there are all kinds of EV’s; small scooters, cheap EVs from China and then on the other hand of the economic spectrum, we have EVs such as the one we see here, the Audi e-Tron GT.

Besides being environmentally friendly, the great thing about EVs is that designers can practically throw out the rule book and do just about whatever they want. The regular rules don’t apply – there’s no longer a need for large vents as there is no engine to keep cool, the coefficient of drag also means that an EV needs to be as sleek as possible to maximise range. And this just means that designers can come up with some of the most visually striking cars ever seen.

The Audi e-Tron GT is one of those ‘visually striking’ cars. The world first caught a glimpse of it in The Avengers movie when Tony Stark drove it to his Malibu mansion. Tony Stark aka Iron Man, the character played by Robert Downey Jr, is an eccentric gazillionaire that builds specialized weaponry and drives exotic Audis.

The e-Tron GT made the transition from a big screen special to real world stunner about two years after the movie. We got to drive it around the Sepang International Circuit which proved to be the ideal place to experience its unbelievable power.

EVs and great power seem to be counter productive since EV’s are supposed to be the halo cars, the answer to all of our automotive problems. That is what car makers would like us to believe at least. But on the contrary, EV’s produce power more naturally than internal combustion engine. Unlike the latter, the problem with EV’s is not producing power but managing it, and power is available as easily and as immediately as turning on a light switch.

During the recent track day, there were two models to drive, the Audi RS e-Tron GT and the standard e-Tron GT. We could only drive one model through a draw of the luck system which basically meant you had to drive whatever car that was parked ahead of you, and by sheer luck we were invited into the cockpit of the most powerful of them all – the RS e-Tron GT.

The standard e-Tron is already a force to be reckoned with. It offers 476PS and 630Nm of torque, but it has a trick up its sleeve called a boost mode. When activated, power is hiked to 530PS and 640Nm, and this allows the car to accelerate from zero to 100km/h in an eye watering 4.1 seconds. Which is astonishing for a car that weighs about 2,300kgs.

If you think that is impressive, the RS version is the mad sibling. As compared to its sedate sibling, the RS has 646PS and scarcely believable 830Nm of torque. It weighs about the same as the standard e-Tron but it sees off the charge to 100km/h in a claimed 3.3 seconds. However, we managed to hit 100km/h in just three seconds, and there are rumours that it can do so in 2.8 seconds.

That type of performance figures are usually reserved for hypercars like Bugatti and Koenigsegg, so the fact that you can experience it in a car that costs under RM800,000 is quite amazing.

And the Audi is not all about its sexy design and stratospheric performance, it is also one that cocoons you in an interior that is a blend of new world tech and old-world quality.

A familiar smell greets you as soon as you step inside the e-Tron. All Audis smell the same thanks to a dedicated team called ‘the nose team’. First set up in 1985, the nose team has a singular purpose of ensuring that every Audi smells the same.

Ahead of you a flat-bottomed steering wheel waits in command with two shifters right behind it. The shifters are part of the two-speed automatic transmission system. Yes, this Audi has a transmission just like the Porsche Taycan, which is not surprising since both cars are pretty much the same and share the same platform, electric motors and internals. Only the shell and the interiors are different, but more on that later.

The two-speed transmission lets the e-Tron hit a top speed of 250km/h (245 for the non RS). Most EV’s do not have a transmission system with the electric motors feeding power directly to the wheels. This limits the top speed. So by using a two-speed transmission, the Audis (and the Porsches) have a higher top speed which is very much in line with their brand values – performance!

Besides that, there are twin digital monitors aft of the steering wheel. One doubles up as the meter panel and gives you all the usual vehicles telemetries while another is the usual infotainment system and such.

You will notice that the is no gear knob in the traditional sense, but rather it has been replaced by a gear switch which you slide up and down to select your desired movement.

The sports seats are finished in fine Nappa leather while the interior is dowsed in Dinamica microfiber finishing that feels soft and supple.

Despite sharing platforms with the Porsche Taycan, somehow the e-Tron feels bigger, which makes it feel more comfortable especially in the back seats. It can still feel a little tight for taller passengers, especially over longer distances.

The big question when it comes to EV’s is the amount of time it needs to recharge and how far can it go on a single charge. But yet again, the Audi does not disappoint. Packing a 84kWh battery, the e-Tron runs on a 800 volt platform that allows it to provide such high system outputs and yet reduce charging time.

When it comes to range and provided you don’t floor the pedal at every opportunity you get (which is admittedly difficult to do), Audi says the e-Tron will be able to travel 488km. And when it needs a juicing up, and provided you have access to a DC charger, the e-Tron needs just 22.5 minutes to recharge from 5% up to 80% state of charge. Audi did not disclose how long it will take to recharge with an AC charger but simply said that such a charger is better suited for overnight charging.

The Audi e-Tron GT is one of the most electrifying EV’s in Malaysia yet. And priced at RM587,990 to RM792,990, depending on the variant and specifications, the real question here is, should Porsche be worried that the e-Tron might steal some sales from the Taycan? Judging from looks alone, we think it might.

Specifications

Motors: Twin-electric motors

Power: 646PS (RS model in Boost Mode)

Torque: 820N (RS model in Boost Mode)

Transmission: Two-speed automatic

Weight: 2,345kg without driver

Charging Time: 22.5 minutes with DC charger (5% – 80% SOC)

We like: Good looks, mad performance

We don’t like: We can’t afford it

In a surprising turn of events, the freshly introduced BMW X2 M35i has taken on a new role at the Rebelle Rally, showcasing its adaptability beyond the typical road-focused coupe-crossover persona. The brand chose the high-performance M35i variant as the base for this rally-ready transformation, leveraging its turbocharged 2.0-litre engine, which pumps out an impressive 312hp and 400Nm of torque.

The key modification involves fitting Rotiform ZMO-M wheels wrapped in Falken Wildpeak All-Terrain tires, immediately enhancing its off-road capabilities. A spare tire carrier is installed in the trunk to ensure preparedness for unforeseen circumstances and added peace of mind during the rally.

Underneath, the X2 M35i received custom skid plates and underbody protection, bolstering its resilience against rough terrains and rocky paths. A Thule Caprock roof rack was added to accommodate extra equipment, supplemented by Morimoto LED lights for enhanced visibility during the night.

For any recovery needs during the rally, the X2 M35i is now equipped with off-road recovery gear sourced from Smittybilt, ensuring it’s prepared for any unexpected situations. Additionally, an external odometer by TerraTrip and tow straps from BMW M Performance Parts contribute to the rally car aesthetics.

Taking part in the demanding X-Cross Class of the Rebelle Rally, the BMW X2 M35i will be expertly handled by driver Rebecca Donaghe and navigator Sedona Blinson. This marks BMW’s inaugural participation in the renowned event, aiming to showcase the X2’s endurance and durability over challenging terrains, despite being a vehicle primarily tailored for on-road usage.

The Rebelle Rally is a gruelling off-road competition spanning over 8 days, covering a formidable journey of more than 2092km across the harsh desert terrains of California and Nevada. Starting from Mammoth Mountain Resort in California on October 12, the rally is set to culminate on October 21 near the Mexican border at the Imperial Dunes, testing the mettle of all participants in this challenging event.

Subaru’s latest special edition, the BRZ Touge, is designed to emulate the aesthetics of a true STI model. Available in limited numbers (just 60 units) exclusively for the Italian market, the BRZ Touge is loaded with STI-branded components and includes the beloved gold-finished wheels that are highly regarded among enthusiasts.

To begin, the BRZ Touge exhibits a more aggressive appearance compared to the recently introduced JDM-spec BRZ STI Sport. It is exclusively offered in Subaru’s Blu Pearl shade and sports striking 18-inch gold OZ Superleggera wheels with red Touge centre caps. Additionally, this special edition is equipped with front splitters, side skirts, rear bumper extensions, a diffuser, and a rear spoiler, all featuring STI branding.

While these components are already available as optional add-ons in Japan, this marks the first time Subaru has bundled them together as part of a special edition. The BRZ Touge also features larger dual exhaust tailpipes crafted by Italian tuner Supersprint, bearing the “Touge” inscription. The name of the special edition, “Touge,” is derived from the Japanese word for mountain pass, a fitting name for the BRZ’s character.

Inside, the Touge is set apart by numbered door sills, black-and-red leather and ultrasuede upholstery, which closely resembles the U.S.-spec 2024 Subaru BRZ tS. Standard features include adaptive LED headlights, sporty seats, an 8-inch infotainment touchscreen, and a 6-speaker audio system.

Under the bonnet, the BRZ Touge retains the well-known 2.4-litre boxer engine, delivering 231hp and 250Nm of torque. The power output differs slightly from the Japanese BRZ due to market-specific tuning for Europe. A 6-speed manual gearbox transmits power to the rear axle, aided by a limited-slip differential. Subaru claims the BRZ Touge can accelerate from 0 to 100km/h in 6.3 seconds.

With just 60 units available for the Italian market, the Subaru BRZ Touge is expected to sell out quickly, despite its relatively high price tag of €49,500 (RM246k). Whether the special edition will remain exclusive to Italy or if Subaru will consider producing additional units for other European markets remains to be seen.

Toyota has been investing significant effort into developing a groundbreaking automatic transmission tailored for sports cars. Referred to as the “Direct Automatic Transmission” (DAT), this innovation has been under intensive development for over a year. In early 2022, a GR Yaris model equipped with this automatic transmission made its debut at the Toyota Gazoo Rally Racing Challenge in Japan, marking a pivotal moment in the project’s timeline.

2022 Toyota GRMN Yaris

Since its initial unveiling, Toyota has been accelerating the development process, recognising the potential of this automatic transmission in transforming the driving experience for sports car enthusiasts. The most recent test of the DAT took place in September during an event associated with the Super Taikyu series, further showcasing its progress.

(more…)

In July, we had the chance to test two of the three smart #1 variants, primarily to assess their top speed on an open track. However, we didn’t have the opportunity to evaluate the ADAS system or conduct real-world driving tests, limiting our insights into the battery electric subcompact crossover SUV.

Recently, thanks to smart Malaysia, we got behind the wheel again, focusing on testing the ADAS and experiencing real-world driving.

Let’s begin by introducing the three available variants in the Malaysian market: Pro, Premium, and Brabus. The Pro variant serves as the entry-level option, while both Pro and Premium variants offer almost identical ADAS features, including:

  • L2+ ADAS Category/Level
  • Adaptive Cruise Control (ACC)
  • Autonomous Emergency Brake (AEB) – City/Urban
  • Autonomous Emergency Brake (AEB) – Pedestrian/Cyclist
  • Front Collision Mitigation Support (FCMS)
  • Rear Collision Mitigation Support (RCMS)
  • Emergency Lane Keep Assist (ELKA)
  • Lane Keep Assist (LKA)
  • Lane Departure Warning (LDW)
  • Lane Departure Prevention (LDP)
  • Lane Change Assist (LA) Automated
  • Lane Change Assist (ALCA)
  • Evasive Maneuver Assist (EMA)
  • Front Cross Traffic Alert (FCTA)
  • Rear Cross Traffic Alert (RCTA)
  • Door Opening Warning (DOW)
  • Blind Spot Detection (BSD)
  • Speed Limit Information Function (SLIF)
  • Driver Performance Monitoring (DPM)
  • Highway Assist (HWA)
  • Traffic Jam Assist (TJA)
  • 360 Visual Park Assist

The key difference lies in the Pro variant’s Automatic High Beam, while the Premium variant offers a higher-end Adaptive High Beam, Full Autonomous Parking (FAP), Parking Emergency Brake (PEB), and Autonomous Parking Assist.

Pro, Brabus and Premium variants

The Pro variant, with a smaller 49kWh LFP battery, provides a WLTP-rated range of 315km on a single charge. In contrast, the Premium variant is equipped with a larger 66kWh battery, offering a WLTP-rated range of 440km. Both variants utilise the same 268hp, 343Nm electric motor, taking 6.7 seconds to accelerate from 0 to 100km/h, and are configured with a rear-wheel-drive (RWD) setup.

Additionally, certain features like automatic headlight levelling, lighted front grille or door handles, welcome light, luminous side logo, and a kick sensor for the motorised tailgate are available.

Inside, the Pro variant exhibits a few feature reductions, such as leatherette seats and the absence of ventilated seats for the front occupants. Moreover, the 10-inch head-up display is replaced by a more basic 5-speaker audio system instead of the 13-speaker Beats Audio System.

The third variant, the Brabus variant, offers all the features present in the other variants and an additional option: the ability to switch from RWD to all-wheel-drive (AWD). This variant prioritises high performance, boasting a rapid 0-100km/h acceleration time of 3.9 seconds. It features a Dual-motor All-Wheel-Drive powertrain with 422hp and 543Nm of torque, providing excellent handling and traction and a practical WLTP range of 400km.

Our driving experience with the Premium and Brabus variants in real-world conditions was a delightful blend of a Mini and a Mercedes EQB, owing to the cars size and high-quality build. The car exudes a sense of quality, both in its interior and exterior design. Sitting inside gives you the impression of driving a Mercedes, with ambient lighting offering 64 available colours and different combinations for the top and bottom.

Despite its compact appearance, the smart #1 is surprisingly spacious, measuring 4,270mm in length and 1,822mm in width, with a wheelbase of 2,750mm. Even individuals with broad shoulders and long legs can sit comfortably without any struggle. For added comfort, there’s dual-zone auto air conditioning with rear vents, an N95 air conditioning filter, and chilled center armrest storage.

Moving on from the specifications, our journey commenced at Menara Affin, heading to the Sungai Besi Expressway. Along the way, we extensively tested the reliability of the ADAS system. The lane change assist feature, in particular, made lane switching feel seamless and safe, especially in Kuala Lumpur traffic.

However, in the Brabus variant, switching lanes manually is exhilarating and fun, thanks to its ample power. Whenever possible, we took advantage of this power, ensuring to adhere to speed limits. Moreover, the cars design provides maximum visibility, enhancing the driving experience.

With the Brabus variant, you can activate a virtual exhaust sound through the Beats speakers, amplifying the excitement of acceleration and adding a touch of fun to the electric vehicle driving experience.

In terms of speed limits, the car detects speed limit signs and warns you if you exceed them. With the Brabus variant, expect frequent warnings due to its potential for quick overtaking, making it an enjoyable city car. You definitely won’t be bullied by Myvi’s anymore. As a matter of fact, we managed to get a few “King of the Malaysian roads” to get out of our way.

The technology incorporated is impressive and convenient, featuring Apple Carplay and Android Auto, and even a built-in navigation system. The heads-up display provides crucial information, allowing you to keep your eyes on the road.

During our testing at Taman Tasik Titiwangsa, we tried the Autonomous Parking Assist. However, this system proved somewhat flawed, often prompting us to park manually as it struggled to detect available spaces efficiently. It seems more suitable for use in locations with minimal traffic, such as shopping malls.

Heading back on the highway, we switched from the Brabus to the Premium variant. Returning to Menara Affin during peak traffic hours, the ADAS system of the Premium variant proved effective in detecting potential dangers on the road. While the Premium variant is slightly slower than the Brabus, it offers comparable performance without compromising on speed.

Though no official pricing confirmation is available, smart Malaysia estimates a range of RM200,000 to RM250,000 for these variants. Bookings have been steadily coming in, although the exact number remains undisclosed.

If you’re keen to experience the smart #1 firsthand, you can do so at Menara Affin, TRX, from 12th to 14th October 2023, between 9am to 6pm, on a first-come, first-serve basis.

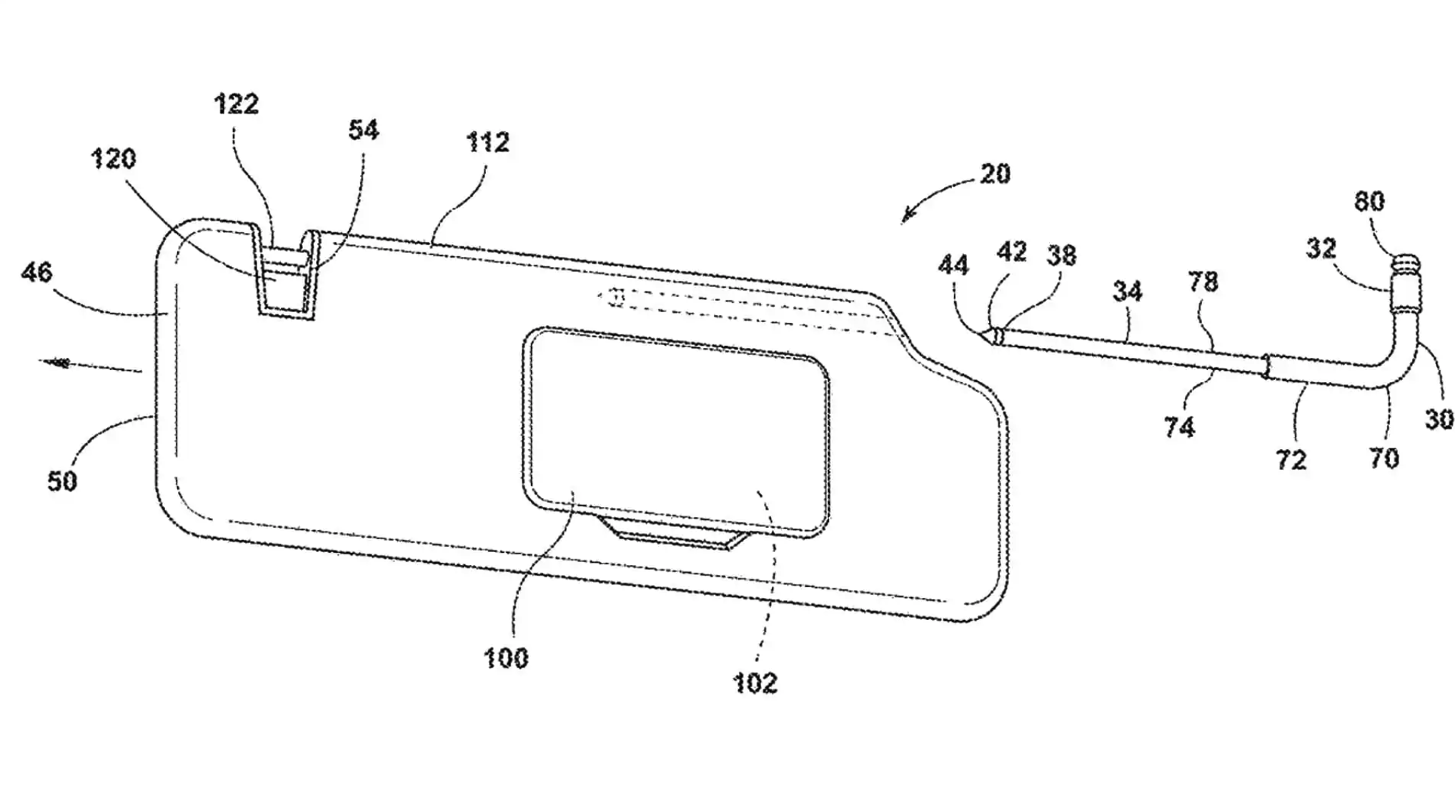
In a recent patent (number 11,780,302 BS) dated October 10, 2023, filed by Ford, a simple yet potentially life-saving innovation has been unveiled. The patent showcases a sun visor that can function as a glass breaker in emergency situations.

The design appears to be a standard sun visor found in most vehicles, mounted on a metal rod for easy flipping to block the sun. However, what sets this innovation apart is its dual functionality. The sun visor can be removed to reveal a pointed end, intended to be used as an impact point to shatter a window.

(more…)

Luxury automaker Infiniti is providing a glimpse of its first electric vehicle, the “Vision Qe,” ahead of its official debut later this month. The Vision Qe offers a sleek fastback design, providing a preview of Infiniti’s venture into the electric vehicle market, although arriving later than some competitors.

Infiniti, a subsidiary of Nissan, has yet to unveil its first fully electric vehicle despite the market shifting towards electrification. The brand witnessed a decline in sales in the US, prompting a revamped visual identity and roadmap to align with the changing automotive landscape. It has even been discontinued here in Malaysia for some time now but is expected to make a comeback in our market.

As part of its plan, Infiniti aims to revamp sales and target 100,000 sales by mid-decade, relying on four new or refreshed models, including two fully electric vehicles. The updated identity encompasses retail stores with large glass windows akin to Apple stores, symbolizing a new era for Infiniti.

The Infiniti logo has also undergone modifications, emphasising the “Infiniti road” and horizon line, signifying a new chapter for the brand, which includes the introduction of its first EVs.

The Vision Qe concept will be officially revealed on October 24, along with several other new models, providing a glimpse into Infiniti’s future lineup and electrification strategy.

Archive

Follow us on Facebook

Follow us on YouTube